ダクタイル鋳鉄管用(K形管)用 管帽 離脱防止押輪付 管帽鋳鉄管用K形
MCKP-KG ・ MBKP-KG
- 適用管種:
- ダクタイル鋳鉄管用 粍(ミリ)管
- 呼び径:
- 75~600mm
- 適用管種:
- ダクタイル鋳鉄管用 吋(インチ)管
- 呼び径:
- 3~12B
概要
ダクタイル鋳鉄管K形・T形配管の管末が挿口の場合に使用します。
類似製品との使い分け
- ダクタイル鋳鉄管GX形配管の管末が受口の場合は、管栓鋳鉄管用GX形をご使用ください。
- ダクタイル鋳鉄管NS形配管の管末が受口の場合は、管栓鋳鉄管用NS形をご使用ください。
- ダクタイル鋳鉄管NS形配管の管末が挿口の場合は、管帽鋳鉄管用NS形をご使用ください。
- ダクタイル鋳鉄管NS形E種配管の管末が受口の場合は、管栓鋳鉄管用NS形E種をご使用ください。
- ダクタイル鋳鉄管 S50形の管末が挿し口の場合は、管帽鋳鉄管用S50形をご使用ください。
- 水圧をかけない状態の鋳鉄管に取付ける場合は、挿し口簡易栓鋳鉄管用をご使用いただけます。
特長
- 取付け簡単で短時間施工
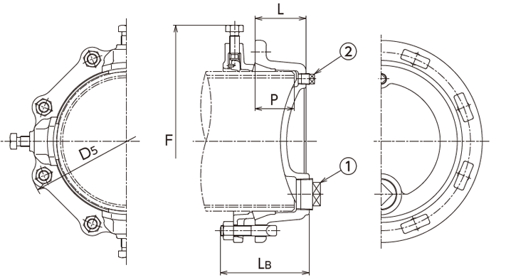
仕様
|
呼び径
|
D5
|
L
|
LB
|
P
|
F
|
①プラグ
|
②プラグ
|
質量(kg)
|
|---|---|---|---|---|---|---|---|---|
|
75
|
197
|
92
|
172
|
80
|
258
|
R2(50)
|
R1/4
|
9.4
|
|
100
|
232
|
92
|
176
|
80
|
295
|
R2(50)
|
R1/4
|
12.8
|
|
150
|
287
|
94
|
175
|
80
|
346
|
R2(50)
|
R1/4
|
18.8
|
|
200
|
338
|
96
|
175
|
80
|
402
|
R2(50)
|
R1/2
|
25.0
|
|
250
|
394
|
99
|
174
|
80
|
454
|
R2(50)
|
R1/2
|
33.5
|
|
300
|
445
|
132
|
213
|
110
|
505
|
R2(50)
|
R1(25)
|
46.1
|
|
350
|
504
|
136
|
212
|
110
|
556
|
R2(50)
|
R1(25)
|
63.5
|
|
400
|
558
|
139
|
224
|
110
|
606
|
R2(50)
|
R1(25)
|
79.9
|
|
450
|
613
|
142
|
226
|
110
|
657
|
R2(50)
|
R1(25)
|
101.3
|
|
500
|
664
|
142
|
225
|
110
|
708
|
R2(50)
|
R1(25)
|
119.8
|
|
600
|
771
|
142
|
234
|
110
|
811
|
R2(50)
|
R1(25)
|
161.0
|
|
3B
|
197
|
92
|
172
|
80
|
260
|
R2(50)
|
R1/4
|
9.4
|
|
4B
|
236
|
92
|
176
|
80
|
299
|
R2(50)
|
R1/4
|
12.8
|
|
6B
|
294
|
94
|
175
|
80
|
352
|
R2(50)
|
R1/4
|
18.8
|
|
8B
|
348
|
96
|
175
|
80
|
411
|
R2(50)
|
R1/2
|
25.0
|
|
10B
|
405
|
99
|
174
|
80
|
465
|
R2(50)
|
R1/2
|
33.5
|
|
12B
|
458
|
132
|
213
|
110
|
518
|
R2(50)
|
R1(25)
|
46.1
|
← スクロールでご確認頂けます →
技術資料
- 取扱説明書
- 75~600mm/3~12B



